
Western Skies Innovation
About WSI
I'm a Mechanical Engineer who has transitioned into an operations leader with more than 20 years of experience in managing multiple high-speed manufacturing locations and overseeing a workforce of over 2,400 employees. Over the years, I have honed my ability to accomplish coordinated and integrated tasks through purpose-driven goal setting, effective relationship building, and streamlined processes.
My entrepreneurial drive and desire to tackle unresolved problems have led me to found Western Skies Innovation, a company focused on innovation and problem-solving. Since our launch in August 2022, we have received one patent and have another pending, with several more in the pipeline. At Western Skies Innovation, we are passionate about pushing boundaries, exploring new possibilities, and creating solutions that make a difference.

Bill Mackleit, founder of Western Skies Innovation.

Inception of Western Skies

Flexible Conveyor System Patent
876213547 B1
Updates
Patents
Flexible Conveyor System
Background and Problem Statement
Patent #: 876213547 B1
Filing Date: 1/15/2023
Update Date: 10/1/2024
Status: PENDING
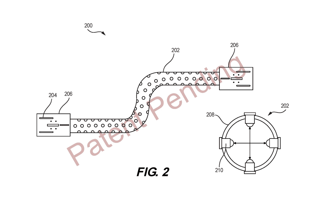
Materials handling systems are used to move materials, such as objects or components, within a facility. Conveyance mediums or mechanisms may be used to transport these materials to or from processing stations. Existing conveyance systems can encounter challenges in responding to different sizes, shapes, and types of material and need to be able to transport irregular devices across elevation changes. As inventory or manufacturing systems grow, the incorporation of conveyance systems become increasingly difficult to adjust and flexibly work around existing infrastructure and machinery.



Here is a sneak peek of our Proof of Concept in motion…